3DQuickPress Fundamentals

Next

3DQuickPress Fundamentals

Basic Concept

The normal procedures to use 3DQuickPress to design progressive die

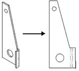
1.      Unfold Part

If unfold is not success, fix it by User Assist Recognition

2.      Blank Layout

Unfolded part is inserted to strip layout document and all processes are designed

3.       Set strip layout parameters

4.      Process Design

5.      Punch Design

6.      Clearance Design

Create a hole part use to cut area have interference with the strip layout

7.            Dieset Design

8.      Part drawing